news

电压72V/60V 功率2500W-8000W

电压48V/60V功率1000W-2000W
和72V功率1000w-2000w
⚠
本手册仅供专业安装人员使用不得作为用户使用手册
严禁非专业人员安装!安装前请仔细阅读本手册
一.产品概述
感谢您选购大泰无刷控制器,为了让您轻松使用本产品,用户使用本系列控制器前,请您详细阅读本说明书,以便了解控制器安装及使用说明。本手册主要介绍了控制器功能特点,安装使用方法,日常维护注意事项等。用户在安装使用过程中遇到任何问题请联系我们,免费技术咨询蔡工15888620588.
大泰控制器具有安全·高效·稳定·低噪音及安装方便等特点。产品广泛适用于电动三轮车,电动载客车,电动环卫车,低速汽车,电动观光车,电动叉车,电动清扫车等车辆。
二.产品特点:
1.采用进口MOS管驱动,高频·高效·安静的工作模式。
2.完善的欠压保护和限流保护能实现对电机和电池的双效保护。
3.双模驱动,无霍尔可工作,运行稳定,抗干扰能力强。
4.特有的防溜坡功能,让车辆上下坡行驶更加安全。
5.有高电平刹车,低电平刹车,速度信号,防盗信号等功能。
三.产品参数




四.接线说明:

五.大泰控制器整车布线注意事项:
1.控制器的信号端是采集电压信号的过程,所以在车身布线方面,要考虑整体走线的干扰源问题。
2.霍尔信号端,控制器本身提供了霍尔的正负电源,以及采集三相霍尔信号的完整电路,无需外从车身上接额外的线路,只需要接电机上对应的霍尔信号接口;
3.霍尔仪表线与相位仪表线是一根霍尔脉冲信号接口,接仪表上的速度线。
4.刹车信号线千万要注意,不能与刹车灯有任何的连接,因为刹车灯电源采用了独立的额外电源,非控制器提供的,所以采集刹车信号需要独立的开关电路,配合控制器提供的信号采集过程,若串接了刹车灯的线路,容易造成刹车灯电源进入控制器,完成刹车信号端电压采集的损坏。
5.在倒车前进空档这三档开关的信号接线端,不能串接倒车喇叭等外围电路的其他线路,会引起控制器因外围电路的干扰造成误动作或损坏。
6.整车必须加断路保护器.
7.大功率相线和电源线必须要加粗.
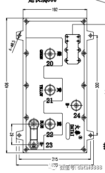
六.控制器外形安装尺寸:


适用于电压72V/60V 功率2500W-8000W

适用于电压48V/60V功率1000W-2000W
和72V功率1000w-2000w
七.注意事项:
1.严格按照产品标识上的型号使用。
3.拖车时必须将电机三根相位线切断。
4.请勿擅自拆改,以防线头损坏。
5.在车辆充电时或车辆停止工作时,必须切断车辆主电源开关。
6.为防止整车线路短路或自燃,车辆必须装有断路器,断路器额定电流为控制器最大限流值基础上增加30%-50%。(例如:控制器限流90A,则断路器额定电流为120A-135A).
7.安装位置和电机相位线越短对控制器传输性能越好。
8.安装时注意接线插件不得有松动或接触不良,电源和相线有保护套,并定期进行检查。
9.安装位置通风·防水有保护措施。
八.产品配件
刹车断电开关 1只
黑色防水膜 1片
接线柱保护套 5只(电压72V/60V 功率2500W-8000W)
黑色防水膜使用说明:
九.常见故障及排除方法:
车辆不能行使
1.在整车通电的情况下找到刹车断电线,将其拔掉后用个新转把连接控制器转把线,看看是否能够转动,如果不转说明控制器与电机有故障。
2.打开电源拔掉霍尔线看看车辆是否能够转动,如果不转说明控制器有故障。
3.前进后退相反,将黄绿线和黑线对接。
4.有前进没倒车,检查插件是否松动,更换倒车开关。
5.刹车没有断电,检查插件是否松动,更换刹车开关。
6.速度信号仪表显示没有,检查插件是否松动,更换仪表。
十.储存·运输
仓库保持通风,通光,通气,无腐蚀性气体,产品堆放离地,隔墙,防潮。
在运输过程中要稳妥有序,禁止野蛮装卸,防止跌落。
十一.联系我们
台州市大泰机电有限公司
总经理: 13373657888(蔡总)
销售部: 18958689888(梁经理)
13305769888(孙经理)
外贸部: 18958512573(李经理)
售后部:13185624500(尤经理)
网址: http:// www.tzdatai.com
地址:台州市黄岩区院桥镇鉴湖山头陈村
Copyright © 2020 浙江大泰新能源有限公司 ALL RIGHTS RESERVED 浙ICP备2025213439号 设计&推广:新飞速网络科技